不少人开车喜欢听车载音乐,或者听收音机,这些都需要汽车播放器来播放。汽车播放器的环境温度试验方法可以参考QC/T 949-2013标准。下面,我们大家一起来认识一下汽车播放器的环境温度试验。

汽车播放器环境温度试验方法步骤如下:
1.高温工作:
样品放置在(70±2)℃的恒温条件下,接通电源持续工作24h,然后放置在室温,进行性能试验,应符合本标准相关要求。
2.高温储存:
样品不通电,在温度为(90±2)℃的恒温条件下放置24h,然后放置在室温恢复2h后进行外观、功能及性能试验,应符合本标准相关要求。
3.低温工作:
样品在温度为(-30±2)℃的恒温条件下不通电放置2h后,接通电源能正常持续工作24h,然后放置在室温中恢复2h后进行性能试验,应符合本标准相关要求。可采取措施防止凝露。
4.低温储存:
样品在( -40±2)℃的恒温条件下放置24h,然后放置在室温恢复2h后进行外观、功能检查及性能试验,应符合本标准相关要求。
5.交变湿热:
将样品放置在恒温恒湿试验箱中,按下图的规定进行5个周期交变湿热循环试验,每个周期约24h,试验后,样品从试验箱中取出放置在室温中恢复2h后,进行外观,功能检查及性能试验,应符合本标准相关要求。

6.温度循环:
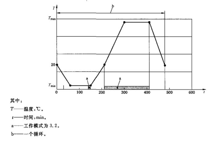
样品放入试验箱中,按下图的要求进行,(-30±2)℃ ,(70±2)℃分别为最低工作温度、最高工作温度,共进行5个循环试验,试验中,应防止结露。5个循环后,取出样品放置在室温中恢复2h后进行外观、功能检查及性能试验,应符合本标准相关要求。

以上1-6实验可以使用“恒温恒湿试验箱”来完成,下面的温度冲击试验可以使用“冷热冲击试验箱”或“快速温度变化试验箱”来完成。
7.温度冲击:
样品放置在冷热冲击试验箱中,按下图的要求进行5个周期温度冲击循环试验,每个周期约8h,其从Tmin(-40℃)升到Tmax(+85℃)时间不超过3min,并分别在(-40℃)保持240min ,在(+85℃)保持240min。
试验后,取出样品放置在室温中恢复2h后进行外观,功能检查及性能试验,应符合本标准相关要求。








