在目前的汽车碰撞试验中,待检车辆需要进行试验前的预处理,即将汽车保持在一定温度下放置一定的时间,即“汽车碰撞移动保温间”。汽车试验前的预处理过程中温度控制是十分重要的。下面分享“”的汽车碰撞移动保温间技术方案,供大家作为选型参考。
方案名称:汽车碰撞移动保温间
方案设计:
设备型号:HYTW-113S
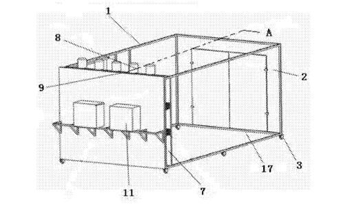
1.汽车碰撞移动保温间,包括带有脚轮的框架和位于框架四周及顶部的棚体,还包括可供试验车辆通过的正门、调节棚内温度的空调系统和操控箱。
2.空调系统包括由隔板和部分棚体构成的换气室、通过支架安装在换气室顶端的风机、设在换气室内的加热器以及与换气室相连通的制冷机,隔板上部设有与风机相对应的回风口、下部设有出风口。
3.在侧面棚体上设有供人员通行的侧门。在侧面棚体上设有用于观察棚内试验情况的观察窗。在隔板上设有用于测量棚内温度的温度传感器。正门下方设有可拆卸的底梁。在下部框架与地面之间还设有固定在框架上起密封作用的软质封边。
方案特点:
具有能耗低、控制快捷有效且安全方便的优点,还具有结构简单,使用成本低的优点。
方案设计图:

.png)
.png)
以上是汽车碰撞移动保温间设计的一个大概,分享了设计的主体思路,在具体设计中,还有很多可以提升设计的空间,会根据此设计思路,进行相对应的优化设计。







