以前的冷热冲击试验,是采用人工转换的方法。但随着科技的发展,现在的冷热冲击试验箱做试验,均采用自动转换温度的方法,下面我们来看看冷热冲击试验箱做试验的要求。
.jpg)
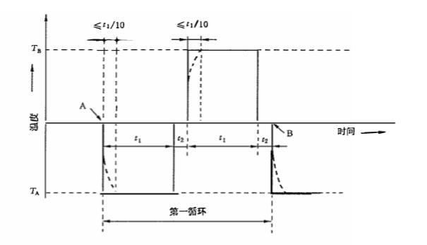
1.将试验样品暴露于低温Ta下。
2.温度TA应保持规定的时间t1,t1包括箱内空气的温度稳定时间,该时间不长于0.1 t1。
注1:暴露持续时间从试验样品放入温度箱的瞬间开始计算。
3.然后将试验样品转换到暴露于高温Tg下,转换时间t2立不宜超过3 min.
t2应包括试验样品从一个试验箱取出的时间、放入第二个试验箱的时间以及在试验室环境温度下停留的时间。
注2:对于质量大的试验样品,从一个试验箱到另一个试验箱的转换时间可按相关标准或规范的规定增加。
4.温度Tb应保持规定的时间t1 t包括箱内空气的温度稳定时间,该时间不长于0.1t1。
注3:暴露持续时间从试验样品放入温度箱的瞬间开始计算。
对于下一个循环,试验样品应转换到暴露于低温Ta下,转换时间t2不宜超过3 min.
第一循环包括2个暴露时间t1和2个转换时间t2(见下图)。

5.在最后一个循环结束时,试验样品应经受恢复程序。
对于使用冷热冲击试验箱做试验的程序,如果疑问的,可以咨询相关技术人员。








