硅藻泥材料甲醛净化性能舱是依据《JC T2177-2021》的标准来设计的,产品既可以检测甲醛的净化性能,也可以测试voc的净化能力。
硅藻泥材料甲醛净化性能舱由“”设计制造,产品包含“试验舱”和“样板架”两个部分,结构示意图如下所示:
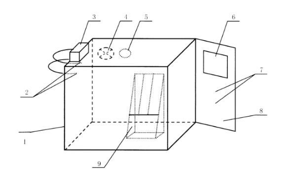
一、试验舱结构:

标引序号说明:
1.试验舱
2.送气1(两口间距不小于20cm)
3.气体发生器
4.搅拌风扇
5.LED照明灯
6.观察窗
7.采气口(两口间距不小于20cm)
8.试验舱门
9.1个样板架(共4个)
注:气体发生器的气体发生室应与试验舱形成闭合回路。
二、样板架结构:

标引序号说明:
1.加强筋:
2.样板托。
注:加强筋数量可根据实际情况增减。
三、产品实物图:
.jpg)
硅藻泥材料甲醛净化性能舱的试验舱系统主要包括了试验舱和气体发生器,当试验的时候,需要在温度(25±0.5)℃,相对湿度(50±5)%,甲醛浓度不超过0.02 mg/m³。








